technologie
 
Home O nas Nasi dostawcy Lista referencyjna Kontakt Zamówienia zamówienia


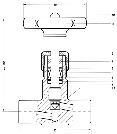
Zawory Christian Bollin - zawór odcinający Typ 3

Typ 3

DN: max 8
PN max. 400
T max 250°C
CV ≈ 0,5 (DN5)

Wykonanie kompaktowe kuty, z pokrętłem. W krótkim czasie temperatura pracy do 300°C


parts no. designation material
1 2
1 body, forged A105 316Ti
3 spindle roll sealed 403F 316Ti
3.1 cone,rolled into, movable SS 316Ti
4 taper ring 1035 316Ti
5 scraper ring Novapress
6 packing graphite1) PTFE2)
7 gland 1213 316Ti
8 union nut 1.0715 316Ti
9 handwheel moulded plastic3)
10 nut galvanized steel 316Ti

Zawory Christian Bollin Zawory Christian Bollin

Klucz zamówienia:

A 3
 
type body number material code special characters code
A=shut-off valves   1Mat.: carbon steel A105
2Mat.: stainless steel 316Ti

other materials on request


G bar (instead of handwheel)
H handwheel of steel sheet
K lock nut
L bracket
PT german TA-Luft
R 
adjusting cone (needle, parabola cone)

powrót

(karta nr 4098)